Aller au contenu principal

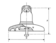
ISOLATEUR SUSPENDU F70-10
#6610077

ISOLATEUR SUSPENDU F70-10 #6610077

Référence : 4330004

Descriptif

Diamètre 255mm, pas 127mm, ligne de fuite nominale minimale 320mm, accrochage suivant CEI60120 Taille 16A, poids approximatif 3,6kg, tension de tenue à 50Hz à sec une minute : 70kV, sous pluie une minute : 40kV, tension de tenue au choc de foudre : 100kV, tension de tenue à la perforation : 130kV, charge minimum de rupture mécanique : 70kN, composant diélectrique : verre trempé, capot : fonte galvanisée à chaud, tige : acier forgé galvanisé à chaud, goupille : acier inoxydable, ciment alumineux cuit à chaud. Sur consultation : veuillez transmettre votre demande, l'équipe SELECOM vous communiquera l'offre de prix. Délai de livraison compris entre 24 heures et 7 jours à compter du lendemain de l'accord par mail pour la confirmation de commande formelle.