Aller au contenu principal

ISOLATEUR SUSPENDU 1508 BF
HTA #6610047

ISOLATEUR SUSPENDU 1508 BF HTA #6610047

Référence : 4330001

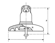
Descriptif

Diamètre 175mm, pas 110mm, ligne de fuite nominale minimale 195mm, accrochage suivant CEI60120 Taille 11, poids approximatif 1,6kg, tension de tenue à 50Hz à sec une minute : 45kV, sous pluie une minute : 32kV, tension de tenue au choc de foudre : 70kV, tension de tenue à la perforation : 110kV, charge minimum de rupture mécanique : 40kN, composant diélectrique : verre trempé, capot : fonte galvanisée à chaud, tige : acier forgé galvanisé à chaud, goupille : acier inoxydable, ciment alumineux cuit à chaud Délai de livraison compris entre 24 heures et 7 jours à compter du lendemain de l'accord par mail pour la confirmation de commande formelle.